Редукторы червячные одноступенчатые серии 1Ч2 являются приводами общего назначения и предназначены для увеличения крутящего момента и уменьшения частоты вращения различных машин и механизмов.
| Модель | Диапазон передаточных отношений | Мт, Н*м | Масса, кг | Цена | |
| 1Ч2-63/40 |
100…4000 |
150…180 |
25 |
—
|
в заявку
|
| 1Ч2-160/80 |
100…4000 |
1800…2610 |
150 |
—
|
в заявку
|
| 1Ч2-160/100 |
100…4000 |
2250...3600 |
195 |
—
|
в заявку
|
Представленные цены не являются публичной офертой, для уточнения цены свяжитесь с нашими менеджерами.
Условия применения редукторов
- нагрузка постоянная и переменная в пределах номинального
крутящего момента, одного направления и реверсивная;
- работа с периодическими остановками и длительная до 24 часов в
сутки;
- вращение валов в любую сторону без предпочтительности;
- частота вращения входного вала не более 1500 об/мин;
- атмосфера типов I и II по ГОСТ 15150-69 при запыленности
воздуха не более 10 мг/м3;
- климатические исполнения У, Т для категорий размещения 1—3 и
климатические исполнения УХЛ и О для категорий размещения 4 по ГОСТ
15150-69
Габаритные и присоединительные размеры
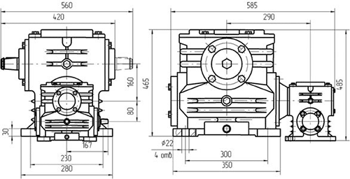
Редуктор 1Ч2 160/80


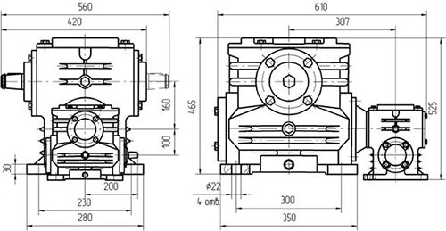
Редуктор 1Ч2 160/100


Схемы сборки редукторов

Варианты расположения червячной пары
Быстроходная ступень

Тихоходная ступень

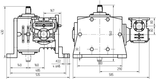
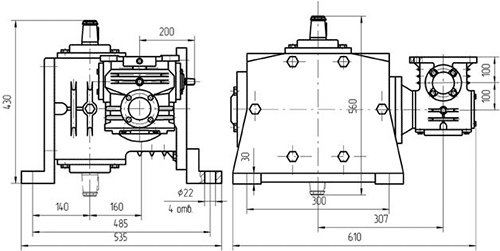
Размеры концов валов редукторов
Тихоходный вал 1Ч2 160/80 и 1Ч2 160/100 (исполнение К1 и
Ц)

Быстроходный вал 1Ч2 160/80 (исполнение К и Ц)

Быстроходный вал 1Ч2 160/100 (исполнение К и Ц)

Условное обозначение редуктора - расшифровка
Редуктор 1Ч2 - 160 - 80 - 51 - 4 - 3 - 1
- К - Ц - 1 - У2
- Тип редуктора
- Межосевое расстояние тихоходной ступени, мм
- Передаточное число
- Схема сборки
- Вариант крепления
- Вариант расположения червячной пары тихоходной ступени
- Вариант расположения червячной пары быстроходной ступени
- Исполнение конца входного вала
- Исполнение конца выходного вала
- Категория точности передачи
- Климатическое исполнение и категория размещения по ГОСТ
15150-69
Размеры конца выходного вала редукторов 1Ч2 соответствуют
размерам конца выходного вала редукторов 1Ч, исполнения К1 и Ц.